Fensterbau
Fensterbankanschluss Dämmsystem
Der CF-Fensterbankanschluss ersetzt herkömmliche PVC-Fensterbankanschlussprofile. Mit dem optimalen Lambdawert von COMPACFOAM gehören Tauwasser und Schimmelbildung im Bereich des FBA der Vergangenheit an. Durch die hohe Festigkeit von CF-FBA ist die Befestigung der Fensterbank mit speziellen Fensterbankschrauben ohne Probleme möglich. In Verbindung mit einer PVC Beschichtung kann die Fensterbank auch mit handelsüblichen Fensterbankschrauben befestig werden.
Der CF-Dämmkeil bietet eine einfache und sichere Ausbildung der zweiten Dichtebene. Durch den hohen Lambdawert von COMPACFOAM werden gefährliche Wärmebrücken sicher vermieden. Die Neigung der Fensterbank nach vorne ist mit 5° sichergestellt.
Optional kann auf der Innenseite die CF-Fensterbank Innendämmplatte eingesetzt werden, Durch die Höhe der Innendämmplatte mit 25mm ist eine ausreichende Unterfütterung der Innenfensterbank gewährleistet.
Das COMPACFOAM-Fensterbankanschluss Dämmsystem besteht aus drei Teilen:
Details
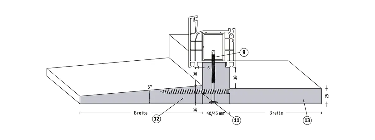
Montagevariante mit CF-Dämmkeil
- Fensterrahmenschraube 7,5mm – kein Vorbohren im Fensterbankanschlussprofil erforderlich; Abstand und Verankerungslänge nach statischem Erfordernis oder RAL-Richtlinie
- Fugenverklebung mit MS-Polymer Kleber oder Klebeband
- CF-Fensterbankanschlussprofil (CF-FBA)
- Das Gewerkeloch ist dauerhaft abzudichten, laut Stand der Technik
- Fensterrahmenschraube
- Unterlegplatten
- Fugendämmung laut Stand der Technik
- Abdichtung innen und außen laut Stand der Technik
- Schraube 5,5mm (siehe Montagevariante 2)
- Fensterbank
- Fugenverklebung mit MS-Polymer
- CF-Dämmkeil 5° (siehe Montagevariante 2)
- Innendämmplatte (siehe Montagevariante 2)
Profilschnitt
Das COMPACFOAM-Fensterbankanschlussdämmsystem ist in jeder Hinsicht flexibel:
- Sie erhalten die Einzelteile nicht nur in der Standardlänge, sondern auch in Sonderlängen.
- Die Höhe und Tiefe des FBA-Profils ist frei wählbar. Durch den COMPACFOAM-Produktionsprozess können wir jeden Querschnitt auch in Kleinstmengen zu geringen Kosten herstellen.
- Bei der Profilierung sind keine Grenzen gesetzt. Individuelle Werkzeuge sind nicht zwingend erforderlich, was uns erlaubt, jedes Wunschprofil zu produzieren. Wir liefern das individuelle FBA-Profil für IHR Fenster.
- Auf Wunsch wird das FBA-Profil ein- oder beidseitig mit eine PVC-Beschichtung versehen.
- Auch der Dämmkeil und die Innendämmplatte können individuell angepasst werden. Dies betrifft nicht nur die Abmessungen, sondern auch, ob Sie eine Nut-Feder-Steckverbindung wünschen oder nicht.
Höchste Flexiblität erreichen Sie mit dem Kauf von Platten, aus denen Sie in Ihrer Werkstatt die FBA-Profile selbst zuschneiden und profilieren können.
zu den ProduktenDurch die hohe Festigkeit von CF-FBA ist auch die Befestigung der Fensterbank mit speziellen Fensterbankschrauben ohne Probleme möglich. in Verbindung mit der PVC Oberfläche kann die Fensterbank auch mit handelsüblichen Fensterbankschrauben befestig werden. Ein Vorbohren in COMPACFOAM ist nicht erforderlich.
COMPACFOAM lässt sich problemlos mit handelsüblichen Sägen wie Kreissägen, Druckbalkensägen oder Handkreissägen zuschneiden. Wichtig ist dabei die Verwendung von Sägeblättern mit großem Zahnabstand und freiem Spanraum.
Für das Schneiden von COMPACFOAM empfehlen wir Sägeblätter mit Flachzahn und Spandickenbegrenzer und sehr großer Zahnteilung. Optimale Schnittergebnisse erreichen Sie bei 2000 U/min.
Sägeblattempfehlung
Wärmeschutz: Fensterbankanschluss
COMPACFOAM FBA-Profile ersetzen herkömmliche PVC Fensterbankanschlussdämmprofile. Der optimale Lambdawert von COMPACFOAM führt bei Fenstern zu einem niedrigeren U-Wert ohne Wärmebrücken.
Technische Daten
* jegliche Dicken lieferbar
Mit Hilfe eines neu entwickelten Verfahrens, der Partikeltechnologie, können wir den Verschnitt von COMPACFOAM zu 100 % recyceln. CFeco200, das Ergebnis dieses Prozesses, bietet dieselben guten Eigenschaften wie COMPACFOAM: hohe Festigkeit bei ausgezeichneter Wärmedämmung.
COMPACFOAM FBAs können auch in der Recyclingvariante CFeco200 bestellt werden.
Sie erhöhen jedenfalls den Recyclinganteil im Bau und verbessern die Ökobilanz Ihres Projekts und Unternehmens. Denn Umweltschutz heißt im Kreislauf halten statt teuer entsorgen.

















