Fensterbau
Unterbaudämmprofil (UDP)
Der Bodeneinstand für Türen und bodentiefe Elemente stellt hohe Anforderungen an Unterbaudämmprofile dar. Mit CFeco werden diese erfüllt.
Das COMPACFOAM-Unterbaudämmprofil (UDP) vereint Festigkeit mit ausgezeichneter Wärmedämmung und sehr geringem Eigengewicht. Mit dem UDP stellen sie den gewünschten Bodeneinstand für Terrassentüren, Haustüren und Fenster sicher. Durch den stabilen, wasserfesten Konstruktionswerkstoff ist eine Befestigung von allen Seiten möglich.
Wirtschaftlich und Sicher
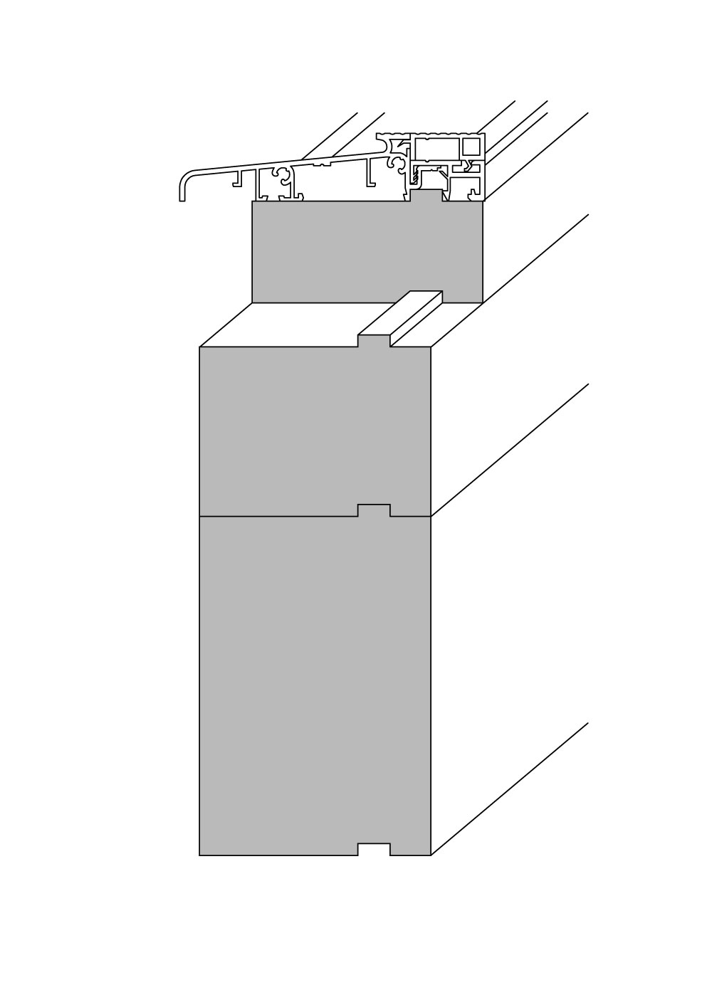
Details
Montagevariante mit hochdämmenden Unterbaudämmprofilen passend zu allen Türschwellen und Fensterrahmen.
Abmessungen:
Oberflächen:
Profilierung:
Ein hoher Wärmedämmwert ist ein kritisches Merkmal moderner Unterbaudämmprofile. Mit einem Lambdawert von 0,045 W/mK erzielen CFeco UDP auch hier ein optimales Ergebnis.
Technische Daten
* jegliche Dicken lieferbar
Abmessungen
COMPACFOAM Unterbaudämmprofile sind nicht nur in der Standardlänge 2350mm erhältlich, sondern in jeder Wunschlänge bis 6m.
Beschichtung
Auf Wunsch wird der Unterbau ein- oder beidseitig mit einer PVC-Beschichtung versehen.
Flexiblität
Höchste Flexiblität erreichen Sie mit dem Kauf von Platten, die Sie in Ihrer Werkstatt selbst zuschneiden und profilieren.
Profilierung/Kontur
Bei der Profilierung sind keine Grenzen gesetzt. Individuelle Werkzeuge sind nicht zwingend erforderlich, was uns erlaubt, auch Kleinmengen kostengünstig zu profilieren. Wir liefern den individuellen Unterbau für IHRE Schwelle.
Mittels Stapelkontur (Nut-Feder-Steckverbindung) können unterschiedliche Einstandshöhen flexibel erreicht werden.
Außerdem ist die Bearbeitung mit unserer CNC-5-Achs-Fräse bis 4700x600x300mm in einem Stück für hochkomplexe und individuelle Anforderungen möglich.
Beispiele
Absturzsichernde Verglasungen dienen dazu, Personen vor dem Sturz auf eine tiefere Ebene zu schützen. Sie sollen bei einem Anprall ein geringes Verletzungsrisiko bieten und sicherstellen, dass der darunterliegende Verkehrsraum nicht durch Glasbruch gefährdet wird. Beispiele für solche Verglasungen sind Brüstungen, Treppengeländer aus Glas und bodentiefe Fenster. Die ETB-Richtlinie für absturzsichere, bodentiefe Bauteile fordert eine Lastaufnahme an den relevanten Befestigungspunkten von mindestens 2,8 kN.
Das COMPACFOAM-System erfüllt dies Anforderung und bietet dadurch höchsten Schutz und Sicherheit bei absturzsichere Elemente.
Für den Nachweis muss das Unterbausystem folgende Anforderungen erfüllen:
Mit dem COMPACFOAM Unterbausystem gibt es ein einzeln geprüftes System für sämtliche Montagehöhen bis 240mm, die alle Anforderungen nachweislich erfüllt.
Komplexe Projekte erfordern manchmal auch einen Nachweis des Schallschutzes des Unterbauprofils. Dazu liegen Prüfergebnisse für verschiedene Materialstärken auf Grundlage der EN ISO 10140-2 vor. Für erhöhte Anforderungen wurden zudem Aufbauten mit raumseitig angeordneter Schallschutzfolie geprüft.
Der Anschluss von bodentiefen Fenster- und Türelementen an die anschließenden Bauteile ist eine der wichtigsten Schnittstellen der Gebäudehülle. Der Anschluss muss mit einem stauwasserdichten Material erfolgen. Hierzu werden meistens Flüssigkunststoffe oder Bitumenbahnen verwendet. Mit COMPACFOAM ist eine sichere und dauerhafte Verbindung mit Flüssigkunststoffen und Bitumenbahnen möglich.
ABDICHTUNG MIT FLÜSSIGKUNSTSTOFFEN
Beim Abdichten mit Flüssigkunststoffen muss der Verarbeiter darauf achten, dass ein verträgliches Produkt verwendet wird. Unter dem folgenden Link finden Sie die aktuelle Liste der freigegebenen Flüssigkunststoffe.
Bei allen Produkten auf der Liste gibt es vom Hersteller eine Haft- und Verträglichkeitsprüfung. Wenn eine Grundierung angeführt ist, muss diese zwingend verwendet werden!
ABDICHTUNG MIT BITUMENBAHN
Beim Abdichten mit Bitumenbahnen im Flämmverfahren muss der Verarbeiter darauf achten, dass die CF-Bodeneinstandsprofile nur kurz beflämmt werden. In der Regel wird die Bitumenbahn am Boden erhitzt und dann heiß und mit verflüssigter Oberfläche auf die CF-UDPs aufgerollt. Eventuell ist noch ein mechanisches Eindrücken oder Anrollen der Bahn erforderlich um ausreichend Haftung zu erzielen. Danach ist ein Überflämmen von außen auf die Bahn möglich, ohne den Unterbau zu beschädigen.
Wie bei allen Werkstoffen der Brandverhaltensklasse B1 muss der Verarbeiter natürlich darauf achten, dass er einen direkten Kontakt zwischen Baustoff und Flamme vermeidet, um den Baustoff nicht zu entzünden.
COMPACFOAM lässt sich problemlos mit handelsüblichen Sägen wie Kreissägen, Druckbalkensägen oder Handkreissägen zuschneiden. Wichtig ist dabei die Verwendung von Sägeblättern mit großem Zahnabstand und freiem Spanraum.
Für das Schneiden von COMPACFOAM empfehlen wir Sägeblätter mit Flachzahn und Spandickenbegrenzer und sehr großer Zahnteilung. Optimale Schnittergebnisse erreichen Sie bei 2000 U/min.
Sägeblattempfehlung
Mit Hilfe eines neu entwickelten Verfahrens, der Partikeltechnologie, können wir den Verschnitt von COMPACFOAM zu 100 % recyceln. CFeco200, das Ergebnis dieses Prozesses, bietet dieselben guten Eigenschaften wie COMPACFOAM: hohe Festigkeit bei ausgezeichneter Wärmedämmung.
Die COMPACFOAM-Unterbaudämmprofile werden standardmäßig in CFeco200 produziert. Somit verwenden Sie ein Unterbausystem, welches zu 100 % aus recyceltem Material entsteht. Sie erhöhen somit den Recyclinganteil im Bau und verbessern die Ökobilanz Ihres Projekts und Unternehmens. Denn Umweltschutz heißt im Kreislauf halten statt teuer entsorgen.
1. Luft- und Wasserdichtheit
2. Vormontage
3. Montage des Unterbaudämmprofils
4. Einbau
5. Abdichtung außen
Weitere Informationen:
Weitere Details zur Abdichtung finden Sie im Datenblatt „Abdichtung“.
Zum Datenblatt

















